技术资料

当前位置:首页 - 技术资料

固态继电器的应用电路

发布时间:2021-08-23 14:02:59    浏览次数:2403

1、基本单元电路

如图5a所示为稳定的阻性负载,为了防止输入电压超过额定值,需设置一限流电阻Rx;当负载为非稳定性负载或感性负载时,在输出回路中还应附加一个瞬态抑制电路,如图5b所示,目的是保护固态继电器。通常措施是在继电器输出端加装RC吸收回路(例如:R=150 Ω,C=0.5 μF或R=39 Ω,C=0.1 μF),它可以有效的抑制加至继电器的瞬态电压和电压指数上升率dv/dt。在设计电路时,建议用户根据负载的有关参数和环境条件,认真计算和试验RC回路的选值。另一个常用的措施是在继电器输出端接入具有特定钳位电压的电压控制器件,如双向稳压二极管或压敏电阻(MOV)。压敏电阻电流值应按下式计算:

Imov=(Vmax-Vmov)/ZS

其中ZS为负载阻抗、电源阻抗以及线路阻抗之和,Vmax、Vmov分别为最高瞬态电压、压敏电阻的标称电压,对于常规的220V和380V的交流电源,推荐的压敏电阻的标称电压值分别为440-470V和760-810V。

在交流感性负载上并联RC电路或电容,也可抑制加至SSR输出端的瞬态电压和电压指数上升率。

但实验表明,RC吸收回路,特别是并联在SSR输出端的RC吸收回路,如果和感性负载组合不当,容易导致振荡,在负载电源上电或继电器切换时,加大继电器输出端的瞬变电压峰值,增大SSR误导通的可能性,所以,对具体应用电路应先进行试验,选用合适的RC参数,甚至有时不用RC吸收电路更有利。

对于容性负载引起的浪涌电流可用感性元件抑制,如在电路中引入磁干扰滤波器、扼流圈等,以限制快速上升的峰值电流。

另外,如果输出端电流上升变化率(di/dt)很大,可以在输出端串联一个具有高磁导率的软化磁芯的电感器加以限制。


图5

通常SSR均设计为“常开”状态,即无控制信号输入时,输出端是开路的,但在自动化控制设备中经常需要“常闭”式的SSR,这时可在输入端外接一组简单的电路,如图5c所示,这时即为常闭式SSR。

2、多功能控制电路

图6a为多组输出电路,当输入为“0”时,三极管BG截止,SSR1、SSR2、SSR3的输入端无输入电压,各自的输出端断开;当输入为“1”时,三极管BG导通,SSR1、SSR2、SSR3的输入端有输入电压,各自的输出端接通,因而达到了由一个输入端口控制多个输出端“通”、“断”的目的。

图6b为单刀双掷控制电路,当输入为“0”时,三极管BG截止,SSR1输入端无输入电压,输出端断开,此时A点电压加到SSR2的输入端上(UA-UDW应使SSR2输出端可靠接通),SSR2的输出端接通;当输入为“1”时,三极管BG导通,SSR1输入端有输入电压,输出端接通,此时A点虽有电压,但UA-UDW的电压值已不能使SSR2的输出端接通而处于断开状态,因而达到了“单刀双掷控制电路”的功能(注意:选择稳压二极管DW的稳压值时,应保证在导通的SSR1“+”端的电压不会使SSR2导通,同时又要兼顾到SSR1截止时期“+”端的电压能使SSR2导通)。


图6

3、用计算机控制电机正反转的接口及驱动电路

图7计算机控制单相交流电机正反转的接口及驱动电路,在换向控制时,正反转之间的停滞时间应大于交流电源的1.5个周期(用一个“下降沿延时”电路来完成),以免换向太快而造成线间短路。电路中继电器要选用阻断电压高于600 V和额定电压为380 V以上的交流固态继电器。


图7 计算机控制单相交流电机正反转的接口及驱动电路

为了限制电机换向时电容器的放电电流,应在各回路中外加一只限流电阻Rx,其阻值和功率可按下式计算:

Rx=0.2×VP/IR(Ω), P=Im2Rx

其中:VP—电源峰值电压(V);IR—固态继电器额定电流(A);Im—电机运转电流(A);P—限流电阻功率(W)

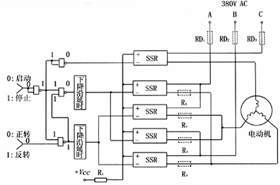
图8计算机控制三相交流电机正反转的接口及驱动电路,图中采用了4个与非门,用二个信号通道分别控制电动机的起动、停止和正转、反转。当改变电动机转动方向时,给出指令信号的顺序应是“停止—反转—起动”或“停止—正转—起动”。延时电路的最小延时不小于1.5个交流电源周期。其中RD1、RD2、RD3为熔断器。当电机允许时,可以在R1-R4位置接入限流电阻,以防止当万一两线间的任意二只继电器均误接通时,限制产生的半周线间短路电流不超过继电器所能承受的浪涌电流,从而避免烧毁继电器等事故,确保安全性;但副作用是正常工作时电阻上将产生压降和功耗。该电路建议采用额定电压为660 V或更高一点的SSR产品。


图8 计算机控制三相交流电机正反转的接口及驱动电路

上一篇:传统继电器与固态继电器的区别
下一篇:固态继电器的主要参数与选用
Copyright © 2015 浙江欣向电气有限公司 All Right Reserved. 浙ICP备15027860号-1
电话:0577-62717102     传真:0577-62717103   地址:浙江省温州市乐清市柳市镇浃底村    邮箱:ssr@ssr.top    网站维护:传信网络

客户服务热线

0577-62717102

在线客服